• 中国科技期刊卓越行动计划项目资助期刊
  • 中国精品科技期刊
  • 首都科技期刊卓越行动计划
  • EI
  • Scopus
  • CAB Abstracts
  • Global Health
  • 北大核心期刊
  • DOAJ
  • EBSCO
  • 中国核心学术期刊RCCSE A+
  • 中国科技核心期刊CSTPCD
  • JST China
  • FSTA
  • 中国农林核心期刊
  • 中国开放获取期刊数据库COAJ
  • CA
  • WJCI
  • 食品科学与工程领域高质量科技期刊分级目录第一方阵T1
中国精品科技期刊2020
何方健,李静,刘明宝,等. 山楂微波干燥特性及含水率预测J. 食品工业科技,2021,42(12):32−38. doi: 10.13386/j.issn1002-0306.2020090098.
引用本文: 何方健,李静,刘明宝,等. 山楂微波干燥特性及含水率预测J. 食品工业科技,2021,42(12):32−38. doi: 10.13386/j.issn1002-0306.2020090098.
HE Fangjian, LI Jing, LIU Mingbao, et al. Microwave Drying Characteristics and Moisture Content Prediction of HawthornJ. Science and Technology of Food Industry, 2021, 42(12): 32−38. (in Chinese with English abstract). doi: 10.13386/j.issn1002-0306.2020090098.
Citation: HE Fangjian, LI Jing, LIU Mingbao, et al. Microwave Drying Characteristics and Moisture Content Prediction of HawthornJ. Science and Technology of Food Industry, 2021, 42(12): 32−38. (in Chinese with English abstract). doi: 10.13386/j.issn1002-0306.2020090098.

山楂微波干燥特性及含水率预测

Microwave Drying Characteristics and Moisture Content Prediction of Hawthorn

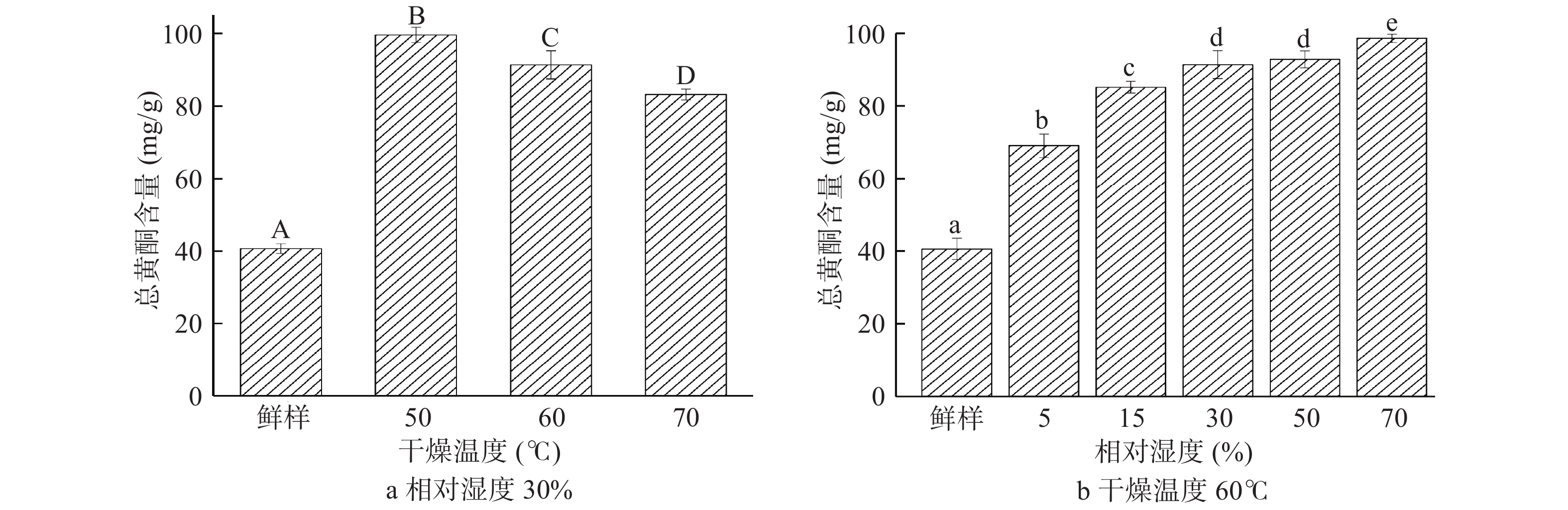
  • 摘要: 为探索山楂微波干燥特性,并实现干燥过程中含水率预测,研究了干燥温度(50、60、70 ℃)、相对湿度(5%、15%、30%、50%、70%)对山楂干燥特性及品质影响;建立了极限学习机(ELM)神经网络,实现对山楂含水率预测。结果表明:干燥温度60 ℃、相对湿度为30%为最佳干燥条件,山楂色泽变化最小,VC含量最高,总黄酮含量较高。建立了结构为“3-8-1”的ELM含水率模型,其预测值与实验值之间的决定系数R2为0.996,均方根误差RMSE为0.00952,能够有效地预测山楂微波干燥过程中的含水率。研究结果为山楂微波干燥应用及含水率在线预测提供理论依据。

     

    Abstract: This study aimed to explore microwave drying characteristics and realize moisture content prediction of hawthorn during drying process. The effects of drying temperature (50, 60, 70 ℃) and relative humidity (5%, 15%, 30%, 50%, 70%) on the drying characteristics and quality of hawthorn were studied. Extreme Learning Machine (ELM) was established to predict hawthorn moisture content. The results showed that the optimum drying conditions were 60 ℃ and 30% relative humidity. The color changed the least, the content of VC was the highest, and the content of total flavonoids was higher for hawthorn. The model of ELM with the structure of “3-8-1” was established to predict moisture content. The determination coefficient R2 value was 0.996 and root mean square error RMSE was 0.00952 between predicted value and experimental, which could effectively predict the moisture content of hawthorn during microwave drying. The results would provide a theoretical basis for microwave drying application and on-line moisture content prediction of hawthorn.

     

/

返回文章
返回