• 中国科技期刊卓越行动计划项目资助期刊
  • 中国精品科技期刊
  • 首都科技期刊卓越行动计划
  • EI
  • Scopus
  • CAB Abstracts
  • Global Health
  • 北大核心期刊
  • DOAJ
  • EBSCO
  • 中国核心学术期刊RCCSE A+
  • 中国科技核心期刊CSTPCD
  • JST China
  • FSTA
  • 中国农林核心期刊
  • 中国开放获取期刊数据库COAJ
  • CA
  • WJCI
  • 食品科学与工程领域高质量科技期刊分级目录第一方阵T1
中国精品科技期刊2020
卢键媚,林晓蓉,陈忠正,等. 反应条件对糖-酸反应体系中3-脱氧葡萄糖醛酮及5-羟甲基糠醛形成的影响J. 食品工业科技,2022,43(2):93−100. doi: 10.13386/j.issn1002-0306.2021040327.
引用本文: 卢键媚,林晓蓉,陈忠正,等. 反应条件对糖-酸反应体系中3-脱氧葡萄糖醛酮及5-羟甲基糠醛形成的影响J. 食品工业科技,2022,43(2):93−100. doi: 10.13386/j.issn1002-0306.2021040327.
LU Jianmei, LIN Xiaorong, CHEN Zhongzheng, et al. Effect of Reaction Conditions on the Formation of 3-Deoxyglucosone and 5-Hydroxymethylfurfural in Sugar-acid Reaction SystemJ. Science and Technology of Food Industry, 2022, 43(2): 93−100. (in Chinese with English abstract). doi: 10.13386/j.issn1002-0306.2021040327.
Citation: LU Jianmei, LIN Xiaorong, CHEN Zhongzheng, et al. Effect of Reaction Conditions on the Formation of 3-Deoxyglucosone and 5-Hydroxymethylfurfural in Sugar-acid Reaction SystemJ. Science and Technology of Food Industry, 2022, 43(2): 93−100. (in Chinese with English abstract). doi: 10.13386/j.issn1002-0306.2021040327.

反应条件对糖-酸反应体系中3-脱氧葡萄糖醛酮及5-羟甲基糠醛形成的影响

Effect of Reaction Conditions on the Formation of 3-Deoxyglucosone and 5-Hydroxymethylfurfural in Sugar-acid Reaction System

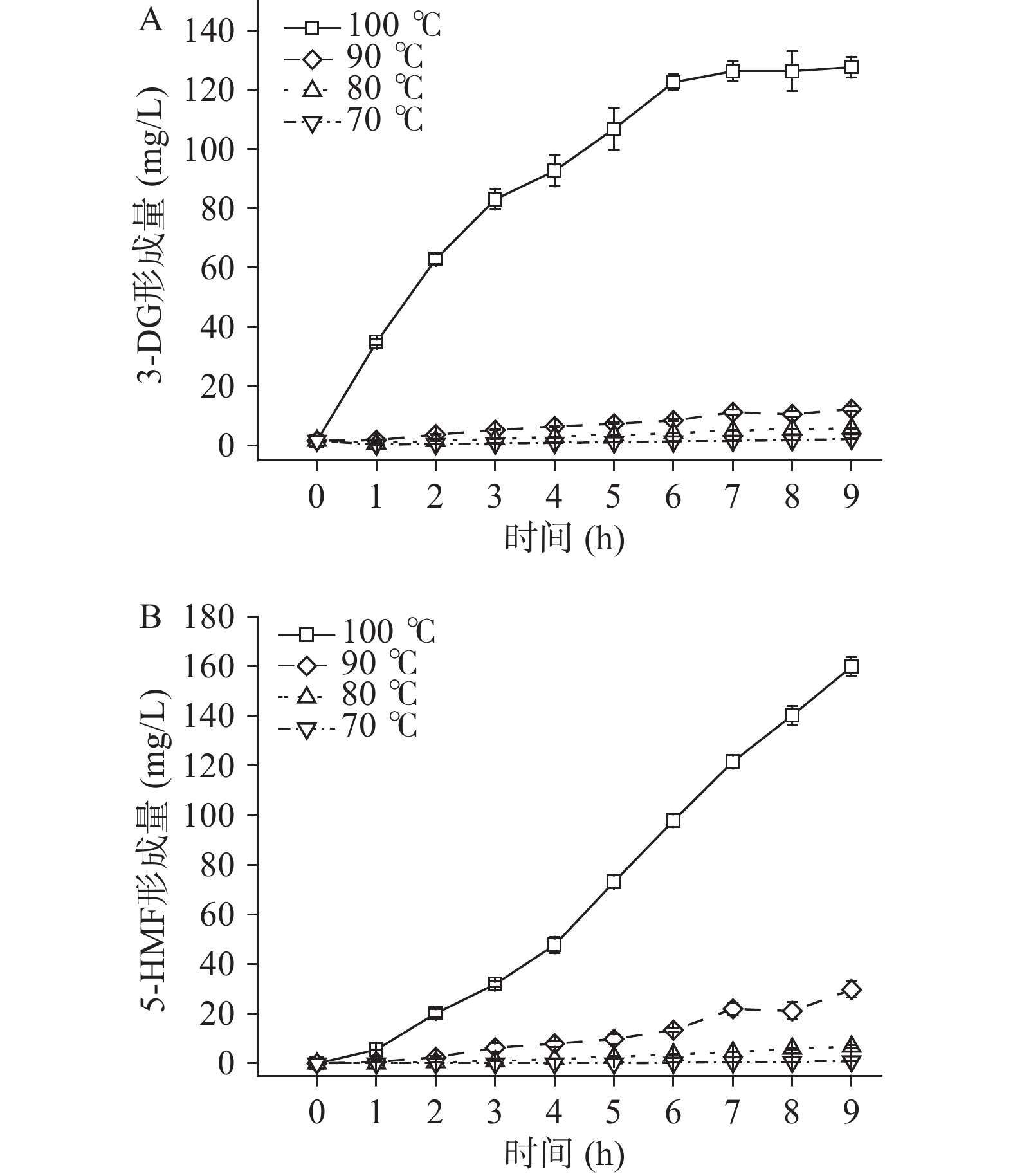
  • 摘要: 为了分析糖-酸反应体系中3-脱氧葡萄糖醛酮(3-deoxyglucosone,3-DG)及5-羟甲基糠醛(5-hydroxymethylfurfural,5-HMF)的形成规律,本研究构建了果糖/蔗糖/葡萄糖-柠檬酸反应体系,探究糖种类、pH、温度、金属离子种类和含不同价态硫的化合物对3-DG及5-HMF形成的影响,并分析了二者的形成动力学。结果表明:三种糖对3-DG和5-HMF形成的影响不同,果糖和蔗糖反应体系中3-DG和5-HMF生成量远高于葡萄糖反应体系,pH降低和温度升高可促进3-DG和5-HMF形成;Ca2+、Mg2+、Al3+均对3-DG和5-HMF的形成有促进作用;K+能促进3-DG的形成,但对5-HMF的形成无显著影响(P>0.05)。Na2S2O3和Na2SO3可以抑制3-DG及5-HMF的形成,而Na2S2O5对3-DG的形成无影响,但能抑制5-HMF的形成(P<0.05);Na2SO4可促进3-DG及5-HMF的形成;70~90 ℃时3-DG的形成符合零级动力学模型,而100 ℃时符合二级动力学模型;70~100 ℃时5-HMF的形成符合零级动力学模型。

     

    Abstract: In this study, sugar-citric acid reaction systems were applied to study the formation of 3-deoxyglucosone(3-DG) and 5-hydroxymethylfurfural(5-HMF). Fructose/sucrose/glucose-citric acid reaction systems were constructed, the effects of sugar type, pH, temperature, types of metal ions and compounds with different valences of sulfur on the formation of 3-DG and 5-HMF were evaluated. The formation kinetics of 3-DG and 5-HMF were analyzed. Results indicated that the three types of sugar had different effects on the formation of 3-DG and 5-HMF. The amounts of 3-DG and 5-HMF produced in fructose and sucrose reaction systems were much higher than those in glucose reaction system. The amounts of 3-DG and 5-HMF in the fructose-citric acid reaction system increased with the decreasing of pH and the increasing of temperature. Ca2+, Mg2+ and Al3+ promoted the formation of 3-DG and 5-HMF. K+ accelerated the formation of 3-DG, but had no significant effect on the formation of 5-HMF(P>0.05). Na2S2O3 and Na2SO3 inhibited 3-DG and 5-HMF formation, while Na2S2O5 had no significant effect on 3-DG formation, but it inhibited the formation of 5-HMF(P<0.05). Na2SO4 promoted 3-DG and 5-HMF formation. The formation kinetics of 3-DG were in accordance with zero-order kinetics model at 70~90 oC while it followed second-order kinetics model at 100 oC. The formation of 5-HMF followed zero-order kinetics model at 70~100 oC.

     

/

返回文章
返回