• 中国科技期刊卓越行动计划项目资助期刊
  • 中国精品科技期刊
  • 首都科技期刊卓越行动计划
  • EI
  • Scopus
  • CAB Abstracts
  • Global Health
  • 北大核心期刊
  • DOAJ
  • EBSCO
  • 中国核心学术期刊RCCSE A+
  • 中国科技核心期刊CSTPCD
  • JST China
  • FSTA
  • 中国农林核心期刊
  • 中国开放获取期刊数据库COAJ
  • CA
  • WJCI
  • 食品科学与工程领域高质量科技期刊分级目录第一方阵T1
中国精品科技期刊2020
雷雅馨,黄帅,张琪,等. 无核白葡萄干腐败霉菌的分离鉴定及生物学特性分析J. 食品工业科技,2025,46(8):164−172. doi: 10.13386/j.issn1002-0306.2024050216.
引用本文: 雷雅馨,黄帅,张琪,等. 无核白葡萄干腐败霉菌的分离鉴定及生物学特性分析J. 食品工业科技,2025,46(8):164−172. doi: 10.13386/j.issn1002-0306.2024050216.
LEI Yaxin, HUANG Shuai, ZHANG Qi, et al. Isolation, Identification and Biological Characterization of Spoilage Mold in Seedless White RaisinsJ. Science and Technology of Food Industry, 2025, 46(8): 164−172. (in Chinese with English abstract). doi: 10.13386/j.issn1002-0306.2024050216.
Citation: LEI Yaxin, HUANG Shuai, ZHANG Qi, et al. Isolation, Identification and Biological Characterization of Spoilage Mold in Seedless White RaisinsJ. Science and Technology of Food Industry, 2025, 46(8): 164−172. (in Chinese with English abstract). doi: 10.13386/j.issn1002-0306.2024050216.

无核白葡萄干腐败霉菌的分离鉴定及生物学特性分析

Isolation, Identification and Biological Characterization of Spoilage Mold in Seedless White Raisins

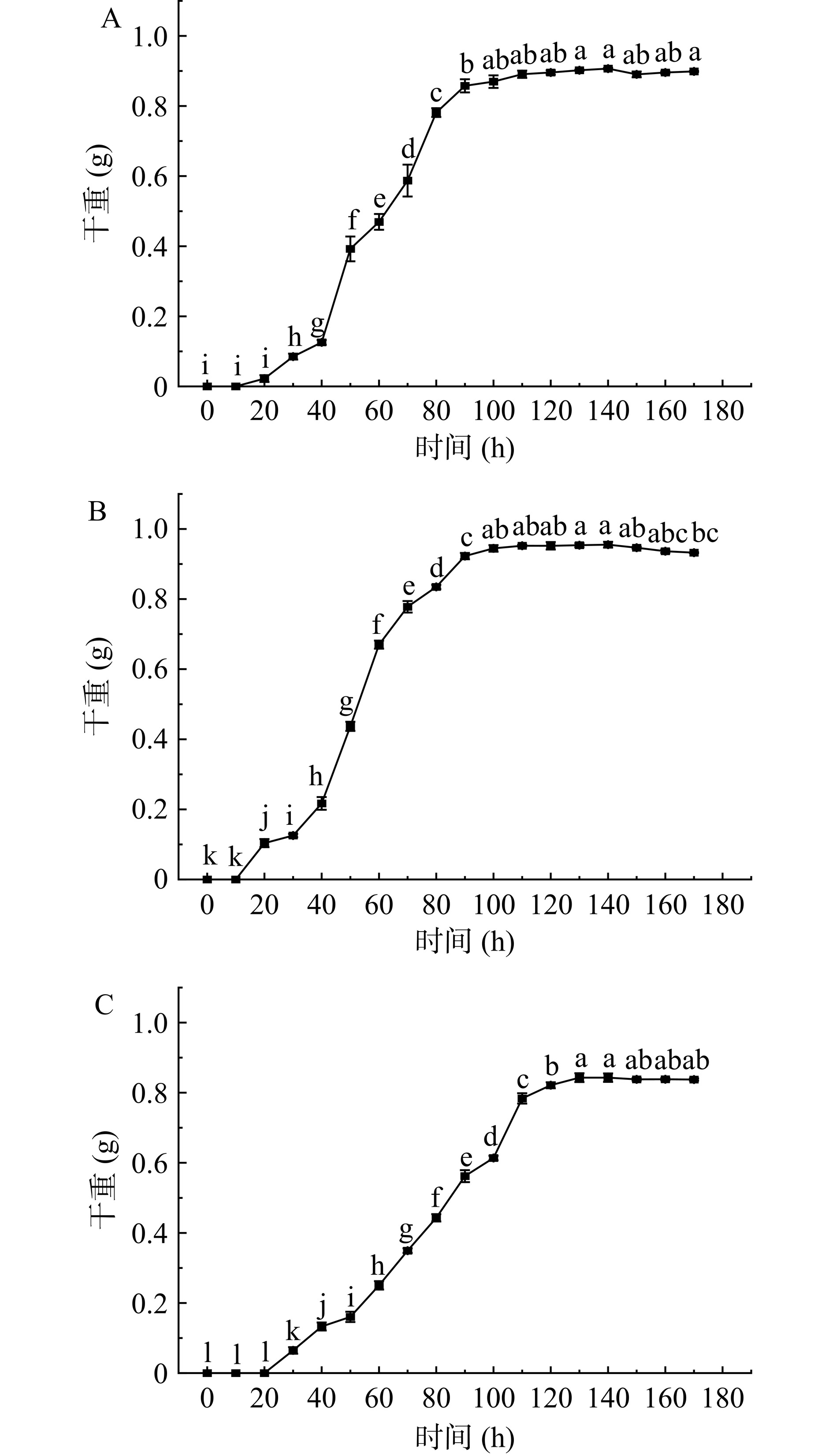
  • 摘要: 葡萄干在加工及贮藏运输中极易受到微生物污染。为了解新疆特色干果无核白葡萄干霉菌污染情况,试验以无核白葡萄干为试验对象,分离纯化高温高湿环境贮藏3个月后无核白葡萄干表面污染霉菌。通过回接侵染试验,根据葡萄干霉变时间及程度筛选出腐败霉菌,利用rDNA-ITS序列分析结合形态特征和显微结构鉴定腐败霉菌,并对其生物学特性进行分析。结果表明:葡萄干表面四株污染霉菌中菌株A1、A2、A4为致腐霉菌,鉴定后确认为塔滨曲霉(Aspergillus tubingensis)、黑曲霉(Aspergillus niger)和岐皱青霉(Penicillium steckii),塔滨曲霉最适生长温度为28℃,环境湿度为90%,pH为7,热致死温度为60 ℃;黑曲霉最适生长温度为28 ℃,环境湿度为90%,pH为7,热致死温度为65 ℃;岐皱青霉最适生长温度为30 ℃,环境湿度为90%,最适pH为7,热致死温度为55 ℃。本文为葡萄干贮藏期间的霉变发生、控制及优化贮藏条件提供理论依据。

     

    Abstract: Raisins were highly susceptible to microbial contamination during their processing, storage, and transportation. To understand the mold contamination of Xinjiang's specialty dried fruit, seedless white raisins, in this study, seedless white raisins were selected as the experimental subject. The mold contaminating the surface of the seedless white raisins was isolated and purified after being stored for three months in a high temperature and high humidity environment. The spoilage molds were screened according to the time and degree of molding by performing return infection experiments, they were identified and biologically characterized using rDNA-ITS sequence analysis combined with morphological and microstructural analyses. Results showed that, among the four strains of molds contaminating the surface of the raisins, strains A1, A2 and A4 caused rot. Aspergillus tubingensis, Aspergillus niger, and Penicillium steckii were also detected. Aspergillus tubingensis had an optimum growth temperature of 28 ℃, an ambient humidity of 90%, a pH of 7, and a lethal temperature of 60 ℃. Aspergillus niger had an optimal growth temperature of 28 ℃, an ambient humidity of 90%, a pH of 7, and a lethal temperature of 65 ℃. Penicillium steckii had an optimum growth temperature of 30 ℃, an ambient humidity of 90%, a pH of 7, and a lethal temperature of 55 ℃. This study provides a theoretical basis for mold growth, control, and optimization of storage conditions during raisin storage.

     

/

返回文章
返回